The last 10 days have brought a string of patent wins for Nintendo. Yesterday, the company was granted US patent 12,409,387, a patent covering riding and flying systems similar to those Nintendo has been criticized for claiming in its Palworld lawsuit (via Gamesfray). Last week, however, Nintendo received a more troubling weapon in its legal arsenal: US patent 12,403,397, a patent on summoning and battling characters that the United States Patent and Trademark Office granted with alarmingly little resistance.
According to videogame patent lawyer Kirk Sigmon, the USPTO granting Nintendo these latest patents isn’t just a moment of questionable legal theory. It’s an indictment of American patent law.
“Broadly, I don’t disagree with the many online complaints about these Nintendo patents,” said Sigmon, whose opinions do not represent those of his firm and clients. “They have been an embarrassing failure of the US patent system.”

Sigmon, who we spoke with last year about the claims and potential consequences of Nintendo’s Palworld lawsuit, said both this week’s ‘387 patent and last week’s ‘397 represent procedural irregularities in the decisionmaking of US patent officials. And thanks to those irregularities, Nintendo has yet more tools to bully its competitors.
The ‘387 patent granted this week, Sigmon told PC Gamer, “got a bit of push-back, but barely.” After its initial application was deemed invalid due to similarities to existing Tencent and Xbox-related patents, Nintendo amended its claims based on interviews with the USPTO, which then determined that the claims were allowable “for substantially the same reasons as parent application(s).”
“That parent case,” Sigmon said, “had an even weirder and much less useful prosecution history.”

Most of the claims made in the ‘387 patent’s single parent case, US Pat. No. 12,246,255, were immediately allowed by the USPTO, which Sigmon said is “a very unusual result: most claims are rejected at least once.” When the claims were ultimately allowed, the only reasoning the USPTO offered was a block quote of text from the claims themselves.
“This seems like a situation where the USPTO essentially gave up and just allowed the case, assuming that the claims were narrow or specific enough to be new without evaluating them too closely,” Sigmon said. “I strongly disagree with this result: In my view, these claims were in no way allowable.”
To Sigmon, an IP attorney with extensive experience in prosecuting and teaching patent law, the ‘387 patent and its parent case rely on concepts and decisions that would have been obvious to a “Person of Ordinary Skill in the Art”—a legal construct that holds if a patent’s claims would reasonably occur to a practitioner in the relevant field based on prior art, those claims aren’t patentable.

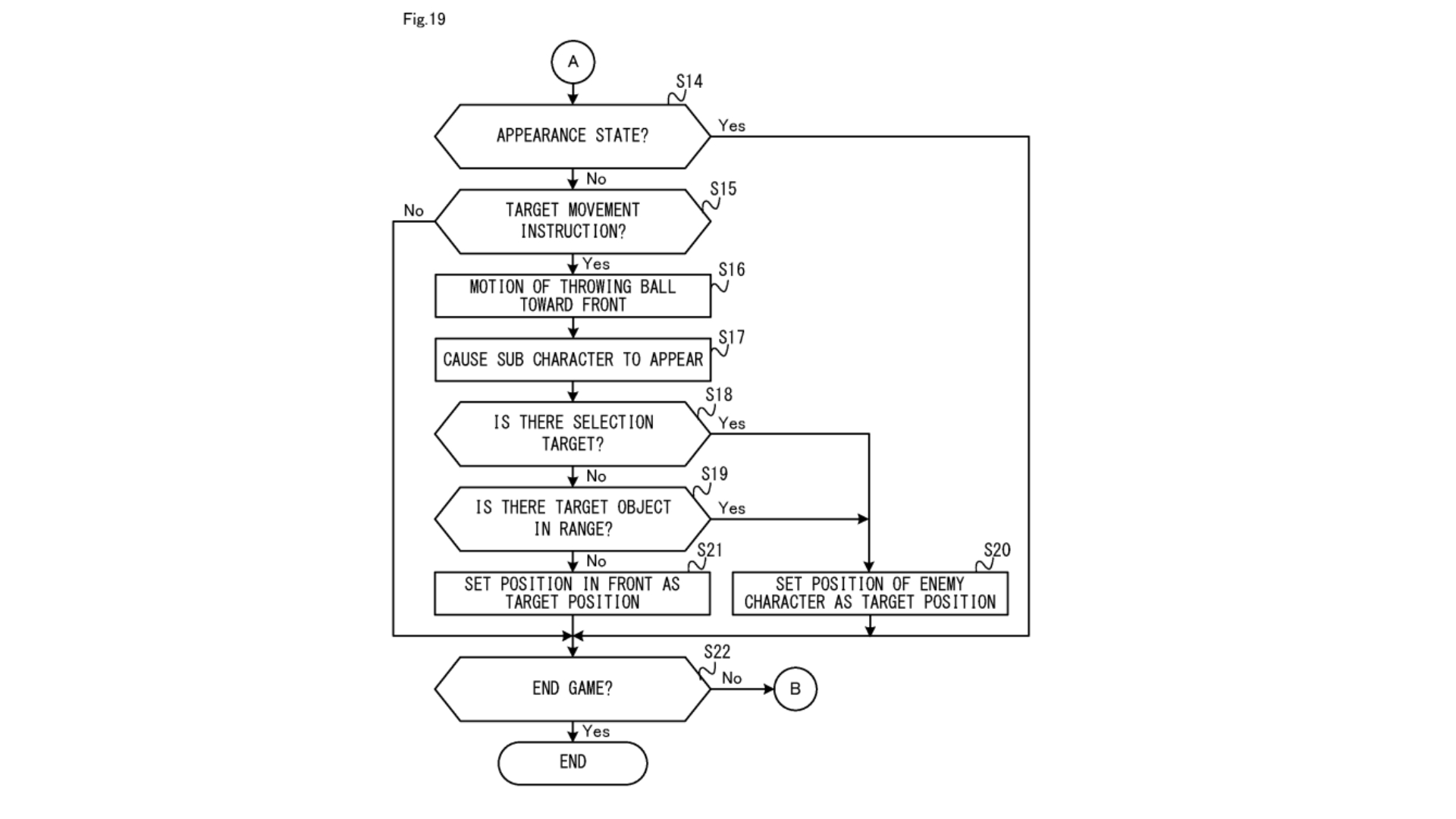
The ‘397 patent granted last week is even more striking. It’s a patent on summoning and battling with “sub-characters,” using specific language suggesting it’s based on the Let’s Go! mechanics in the Pokémon Scarlet and Violet games. Despite its relevance to a conceit in countless games—calling characters to battle enemies for you—it was allowed without any pushback whatsoever from the USPTO, which Sigmon said is essentially unheard of.
“Like the above case, the reasons for allowance don’t give us even a hint of why it was allowed: the Examiner just paraphrases the claims (after block quoting them) without explaining why the claims are allowed over the prior art,” Sigmon said. “This is extremely unusual and raises a large number of red flags.”
According to Sigmon, USPTO records show that the allowance of the ‘397 patent was based on a review of a relatively miniscule number of documents: 16 US patents, seven Japanese patents, and—apparently—one article from Pokemon.com.

“I have no earthly idea how the Examiner could, in good faith, allow this application so quickly,” Sigmon said.
Admittedly, the ‘397 case was originally filed as a Japanese patent application, which would allow the Examiner to use the existing progress in the Japanese case as a starting point for their review. But, Sigmon said, “even that doesn’t excuse this quick allowance.”
“This allowance should not have happened, full stop,” he said.
On paper, the patent might not seem like a threat to Nintendo’s competitors: The claims as constructed in the ‘397 outline a very specific sequence of events and inputs, and patent claims must be met word-for-word to be infringed.
“Pragmatically speaking, though, it’s not impossible to be sued for patent infringement even when a claim infringement argument is weak, and bad patents like this cast a massive shadow on the industry,” Sigmon said.
For a company at Nintendo’s scale, the claims of the ‘397 patent don’t need to make for a strong argument that would hold up in court. The threat of a lawsuit can stifle competition well enough on its own when it would cost millions of dollars to defend against.

“In my opinion, none of the three patents I’ve discussed here should have been allowed. It’s shocking and offensive that they were,” Sigmon said. “The USPTO dropped the ball big time, and it’s going to externalize a lot of uncertainty (and, potentially, litigation cost) onto developers and companies that do not deserve it.”
Sigmon, who says he’s helped inventors protect their inventions from IP theft perpetrated by major companies, insists that the patent system still has merit. “That’s the kind of thing that patents are meant to do,” he said. “They were not made to allow a big player to game the system, get an overly broad patent that they should have never received in the first place, and then go around bullying would-be competition with the threat of a legally questionable lawsuit.”
Unfortunately, Nintendo has gained these patents at a moment when the USPTO has made challenging bad patents more difficult. Currently, US patent officials under USPTO Acting Director Coke Morgan Stewart have been refusing to hear a huge number of Inter Partes Review cases—special proceedings in which parties can argue that a patent should never have been granted—for “discretionary” reasons.
“Realistically, this means that patent validity issues are being relegated to lawsuits: not a good situation, as that often entails millions of dollars in costs and a lot of risk,” Sigmon said. “In practice, this means that bad patents get to fester on the market for longer and provide a bigger threat for the industry as a whole.”

2025 games: This year’s upcoming releases
Best PC games: Our all-time favorites
Free PC games: Freebie fest
Best FPS games: Finest gunplay
Best RPGs: Grand adventures
Best co-op games: Better together